Injection molds, in the plastics industry, excel with unmatched precision & creativity. they shape diverse future forms, displaying boundless artistic flair.
The eight core systems within, function like precision machine gears.they interlock harmoniously, weaving an intricate molding framework.
This framework ensures high efficiency & intricate molding artistry.

1. Gating System: The Artistic Conduit of Plastic Flow
Gating system: entry point for molten plastic.Includes sprue, runners, & designed gates.
A sophisticated delivery network.Ensures uniform & efficient plastic flow.Lays foundation for flawless molding.

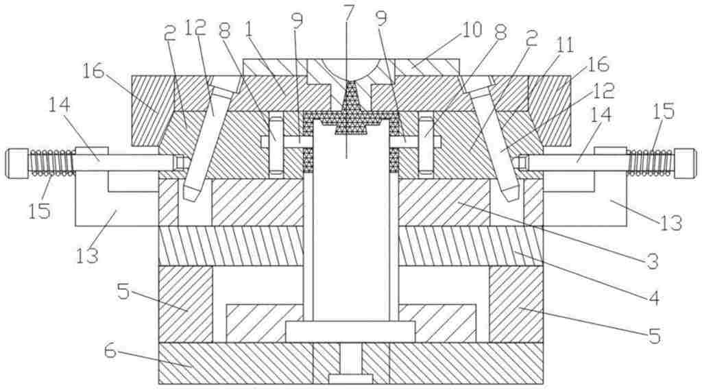
2. Guiding System: The Skeletal Framework for Precise Alignment
Guiding system: mold’s “skeleton” for closure.Guide pillars & bushings ensure seamless mating.
Stability key to precise mold movement.Impacts molded part quality.Supports long-term stable mold operation.

3. Forming System: The Core Stage for Shape Creation
At the heart of injection molding molds lies the forming system, comprising cavities, cores, and inserts. These elements collaborate precisely to impart the desired geometric shape to the plastic material, showcasing the exquisite craftsmanship of mold design and manufacture. Every detail is meticulously calculated and polished to ensure the molded parts perfectly meet design specifications.

4. Mold Temperature Control & Cooling System: The Master of Temperature Regulation and Solidification
This system integrates both heating and cooling functions, providing an ideal environment for the smooth flow and rapid solidification of plastic materials through precise mold temperature control. The efficient design of cooling channels further accelerates the solidification process, shortening cycle times and enhancing productivity. Additionally, accurate mold temperature control is pivotal in ensuring product quality and stability.

5. Ejection System: The Graceful Finale for Finished Products
Once plastic parts have undergone their transformation within the mold, the ejection system gently and precisely guides them to safety and smooth release. The orchestrated movements of ejector pins, ejector plates, and other components resemble a carefully choreographed dance, presenting each finished product in its most pristine form.

6. Venting System: The Invisible Breathing Channel
Although inconspicuous, the venting system is vital to molding quality. Strategically positioned within the mold, it ensures smooth expulsion of air and gases within the cavity, facilitating the flawless filling of plastic materials. This system effectively prevents defects caused by gas entrapment during the molding process.

7. Core-Pulling System: The Unlocker of Complex Structures
For plastic parts featuring side holes, undercuts, and other intricate designs, the core-pulling system is indispensable. Through the precise design and coordinated operation of slides, lifters, and other mechanisms, this system enables the smooth separation of side cores or blocks from the molded parts during mold opening, ensuring their undamaged ejection.

8. Fixing & Supporting Structure: The Solid Foundation
The fixing and supporting structure forms the robust backbone of injection molding molds, providing stable support and fixation through the collaboration of fixing plates, support columns, and connecting screws. Under intense operational conditions, this system ensures the mold’s stability and durability, offering a solid safeguard for the entire injection molding process.
In conclusion, the eight core systems of injection molding molds interdepend and function synergistically, constructing an efficient and precise molding system. For mold designers, a profound understanding and mastery of these systems’ functions and characteristics are not only the key to enhancing mold design expertise but also the pathway to optimizing molding processes, improving product quality, and boosting productivity.





